Porsche Is Working on a Dual-Mode Gearbox That Combines an H-Pattern With Full Automation

Porsche unveils a patent for a gearbox blending manual control with automatic mode, aiming to preserve driving engagement as traditional transmissions decline.

Published on
Read : 2 min
Porsche Is Working on a Dual-Mode Gearbox That Combines an H-Pattern With Full Automation - © Shutterstock

The German manufacturer is attempting to bridge a long-standing divide between enthusiasts of manual transmissions and drivers who favor the ease of automatics. The idea emerges at a time when manual gearboxes are steadily disappearing from most vehicles, particularly with the rise of electrification.

For years, manual transmissions have been associated with driver control and performance, especially in sports cars. Yet, increasing urban congestion and technological shifts have made automatic gearboxes more practical for everyday use. Porsche itself has navigated this tension before, notably when it removed the manual option from the 911 GT3 in 2013 before reintroducing it in 2016 following customer feedback.

A Patented System Combining Two Driving Modes

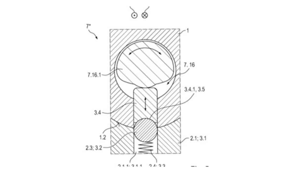
According to Automobile Magazine, Porsche filed the patent on August 30, 2024, though it was only published on March 5, 2026. The system describes a manual gearbox with a traditional H-pattern layout that also integrates a fully automatic driving mode.

The concept is based on a gear lever divided into two distinct zones. One area includes the standard automatic positions, Drive (D), Neutral (N), and Reverse (R), while the other retains the classic manual gear selection with numbered ratios.

The patent documentation specifies that in automatic mode, gears are selected by moving the lever forward or backward. In manual mode, the driver engages gears in a conventional way, combining forward or backward motion with lateral movement across the H-pattern grid.

Technical diagram of the patent filed by Porsche – © OMPI Allemagne

A Response to Market Expectations and past Decisions

The initiative reflects Porsche’s awareness of customer preferences, particularly among sports car buyers. In 2013, the company made the controversial decision to equip the 911 GT3 (type 991) բացառively with a seven-speed PDK dual-clutch transmission. Customer dissatisfaction led Porsche to reintroduce manual gearboxes on several facelifted 991 variants starting in 2016.

Despite this renewed interest, broader market trends are unfavorable to manual transmissions. Electrified vehicles, whether hybrid or fully electric, do not require traditional gearboxes, which further accelerates their decline.

Interestingly, demand for manual transmissions remains relatively strong in North America for Porsche models, even though the region has largely adopted automatic gearboxes for everyday driving.

A Complex Challenge Compared to Existing Technologies

The idea of combining manual and automatic transmissions is not entirely new. Swedish manufacturer Koenigsegg has already developed a similar system for its hypercars, including the CC850 and the one-off Chimera. These vehicles, introduced in 2022 and 2024 respectively, feature highly advanced gearboxes with six individual clutches and three shafts, controlled by sophisticated electronics.

Such systems are extremely costly and are viable only in limited-production hypercars priced in the millions of euros. This level of complexity would be difficult to implement in more accessible models like the Porsche 911 or Boxster, which are significantly less expensive.

Porsche therefore faces the challenge of delivering a comparable concept at a realistic cost, while maintaining the reliability and performance standards of its existing manual and PDK transmissions.

At this stage, the patent remains a declaration of intent rather than confirmation of production. It primarily serves to protect intellectual property and establish ownership of the concept, leaving open the question of whether the technology will eventually reach series production.

Leave a Comment

Share to...